Kepurė

Kiti

© 2019 GVA

 Patarimai

Lizdavietės kukučiams, žalvarniams, laukiniams karveliams ir kitiems paukščiams

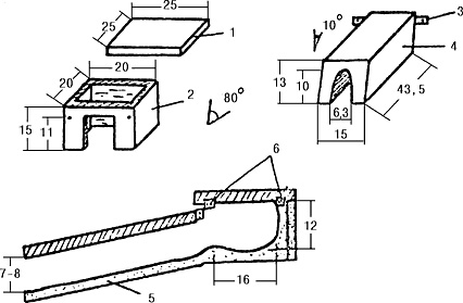
Kukutis ir žalvarnis ieško jiems tinkamų uoksų. Mielai apsigyvena ir peri mediniuose inkiluose, kurių pagrindas 18-20 cm, aukštis - 30 cm. Landa kukučiui daroma 6-8 cm, 10 cm - žalvarniui. Dažnai pasitaiko, kad kukučiai užima varnėnams skirtus inkilus, net ir labai senus.

Šiems paukščiams inkilai keliami miškuose prie laukymių, kirtimų, proskynose, tarpumiškyje, nedidelėse giraitėse laukuose, pievose. Inkilai keliami į 6-10 m aukštį, galima ir žemiau. Tokie būstai tvirtinami taip, kad link jų būtų atviras priskridimo plotas. Landos geriausia nenukreipti į vakarus.

Šiem paukščiams patinka, jei priešais inkilą yra šaka, nuo kurios jie gali maitinti jauniklius. Turbūt, tai vienos iš nedaugelio rūšių, kurioms prie inkilo galima pritaisyti laktas.

Šie paukščiai gali perėti ir urveliuose - molingose atodangose daromi apie metro ilgio horizontalūs 8-10 cm skersmens urveliai. Urvelio įgilinimą lizdui pasidaro patys paukščiai.

Kuosoms daromi mediniai nameliai: aukštis 50-70 cm, pagrindas - 40 cm, landa - 12 cm. Tokie nameliai kabinami atvirose vietose, gyvenvietėse. Kažkodėl nesitiki, kad mūsuose kas nors darys tokius inkilus, juk kuosa vertinama beveik taip pat, kaip ir kormoranai, kurių "juodą" įvaizdį formuoja ir bauginančią informaciją apie juos žiniasklaida pateikia itin dažnai.

Uldukas grįžta pavasarį vienas pirmųjų - dažnai vasario pabaigoje arba kovo pradžioje. Tai viena iš laukinių karvelių rūšių, kuriai žmogus gali pagelbėti. Uldukai gyvena brandžiuose miškuose, kuriuose randa didelių medžių su uoksais.

Uldukų inkilo matmenys: aukštis 50-60 cm, pagrindas 25-30 cm, landa 8-10 cm. Dugnas pribarstomas pjuvenų, skiedrų ar žievės gabaliukų. Inkilai keliami į 6-10 m aukštį, atstumas tarp inkilų gali būti 8-20 m. Tokiuose inkiluose netoli laukymių gali apsigyventi ir kukučiai, žalvarniai, pelėdos.

Gamtoje uldukai dažnai įsikuria juodųjų meletų iškaltuose uoksuose. Yra viena bėda - tokie uoksai dažnai tampa netinkamais paukščiams, nes į juos lietaus metu teka vanduo. Bet tokius uoksus galima suremontuoti. Vokiečių ornitologai siūlo nukirsti visas atsikišusias šakas prie landos, virš landos prikalamas sulenktos lanku gumos ar panašios medžiagos gabalas, kuris nukreipia tekantį vandenį abipus landos. Rekomenduojama taip pat pašalinti šakas, esančias netoli landos, kurios gali trukdyti laisvą priskridimą. Sutvarkius landą, reikia patikrinti, ar uokse nesikaupia drėgmė. Tai galima padaryti šakelės galą apvyniojus vata, skudurėliu ir nuleidus iki uokso dugno. Jei medžiaga tampa drėgna, reikia padaryti drenažą, išgręžus kelias skylutes nuožulniai žemyn nuo dugno į kamieno išorę. Vanduo ištekės ir daugiau nebesikaups. Drenažinių skylių skersmuo - 1-2 cm. Pasitikrinti, kur yra uokso dugnas galima ta pačia šakele.

Ko galima pasiekti, keliant inkilus uldukams, rodo šie pavyzdžiai. Šveicarijoe pradėjo perėti 60 porų šių karvelių (iš jų tik 3 poros natūraliuose uoksuose), nors anksčiau šių paukščių nebuvo. Vokietijoje per 12 metų 13 ha miško plote pavyko padidinti uldukų populiaciją nuo 1 poros iki 24, o inkilų užimtumas skirtingais metais siekė 70-90 proc.

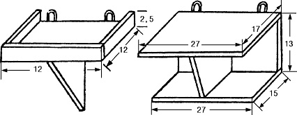
Klykuolė taip pat peri uoksuose. Joms daromi 70 cm aukščio inkilai, pagrindas - 30x30 cm, optimali landa - 10 cm. Vidinės sienos turi būti šiurkščios, neobliuotos - jaunikliai jomis išlips laukan. Inkilai kabinami 100-150 m atstumu nuo miškuose esančių vandens telkinių. Šiems paukščiams labai patinka upokšniai tarp ežerų, upeliai, įtekantys į ežerus. Klykuolės labai noriai įsikuria prie neužšąlančių vandens telkinių. Tokiuose inkiluose gyventojai atsiranda pavasarį pirmiausia.

Prie vandens inkilai klykuolėms keliami į 3-5 m aukštį, bet ne arčiau 10 m iki vandens. Landa turi būti nukreipta link vandens. Geriausia, kad iš vandens inkilai matytųsi. Inkilai tvirtinami prie medžių taip, kad būtų pasvirę į priekį. Atlikti tyrimai rodo, kad nedideli (iki 2 mm) plyšiai tarp lentų neturi įtakos tokio būsto patrauklumui ir vadų gausai, greičiau - atvirkščiai, tokie inkilai nesudrėksta. Jei prie vandens telkinio nėra medžių, tokius inkilus galima kabinti ant kelių metrų aukščio karčių ar stulpų.

Inkilas
Inkilas klykuolei (matmenys - cm)

Inkilo dugne priberiama iki 10 cm skiedrų, žievės gabaliukų, pjuvenų. Po sezono reikia inkilus apžiūrėti ir išvalyti. Klykuolės nesikels į inkilą, kuriame liko pernykščių neišperėtų kiaušinių ar žuvusių jauniklių.

Urveliai paukščiams

Tulžys peri urveliuose prie vandens telkinių. Tulžiams įrengiami dirbtiniai urveliai arba paruošiamos jiems tinkamos vietos. Dažniausiai prie upelių ar ežerų stačiais krantais kastuvu padaroma vertikali aikštelė maždaug 2x2 m. Po to paukščiai gali išsikasti urvelius ir patys, bet geriau jiems pagelbėti, padarant lazda 6-8 cm skyles. Urveliai turi slėptis tarp krūmų ar šaknų.

Inkilas
Dirbtinio urvelio tulžiui brėžinys (matmenys - cm)

Vietose, kuriose nėra natūralių stačių krantų, galima padaryti dirbtinius. Šalia negilaus vandens telkinio, kuriame yra daug smulkių žuvų, tarp pakrantėje esančių krūmų statoma medinė tvora, sutvirtinta kuoleliais. Tvoroje daromos 6-8 cm skylės. Už tvoros išpilamos žemės ir uždengiamos šakomis, užsėjamos žole. Skylių vietose daromi urveliai žemėje (iki 1 m gylio) šiek tiek į viršų, kad iš jų galėtų ištekėti lietaus vanduo. Urvelių sienos sutvirtinamos plastmasiniais ar molio vamzdeliais. Galima į vidų įdėti kartono vamzdelius. Lizdavietė daroma iš molio ar cemento, ji daroma urvelio gale. Lizdavietės matmenys - 14-18 cm. Apsaugai nuo vandens virš lizdavietės reiktų pritaisyti vandeniui nelaidžios medžiagos stogą - celofaninį ar panašų.

Štai dar vienas dirbtinis lizdas tulžiui. Jis sudarytas iš dviejų dalių - urvelio ir lizdavietės. Tokį lizdą galima užkasti natūralaus skardžio viršuje. Arkos pavidalo urvelis daromas iš cemento arba molio. Jo ilgis 40-50 cm, skersmuo - 6-7 cm. Jo gamybai geriausia naudoti specialią formą. Lizdavietė gaminama iš lentų arba iš molio. Toks lizdas užkasamas į 20-60 cm gylį. Pagrindinis rėmas saugo lizdą iš šonų ir iš viršaus. Tam, kad į lizdą neprisikastų pelės ar kiti paukščių priešai, geriausia giliau po lizdu patiesti vielinio tinklo gabalą.

Inkilas

Dirbtinis tulžio lizdas:

1 - stogas, 2 - lizdavietė, 3 - metalinis kampuotis, 4 - urvelis, 5 - dirva, 6 - metaliniai sujungimai

Inkilas

Dirbtinio lizdo tulžiui įrengimas:

1 - kasimo zona; 2 - vielinis tinklas (matmenys - cm).

Urvuose peri ir kai kurios antys. Tai - urvinės ir rudosios antys. Urvai joms kasami stačiuose krantuose, skardžiuose, kalvose prie vandens. Pradžiai nuimama velėna, kuri vėliau panaudojama urvo maskavimui. Kastuvu kasamas 1,5-2 m ilgio, 25-40 cm gylio ir pločio griovys. Nuo pagrindinio tunelio daromi keli atsišakojimai, kurie baigiasi 30x35 cm dydžio ir 30 cm aukščio kambarėliai. Griovio viršus uždengiamas lentomis, šiferiu. Visa konstrukcija maskuojama nukasta velėna, šakomis. Ypač gerai reikia apsaugoti lizdavietes, kad į ją nepatektų keturkojai plėšrūnai. Įėjimas į lizdavietę turi būti žemiau už ją pačią - tam, kad į lizdavietę napatektų vanduo. Urvą ir atsišakojimus galima daryti iš 30 cm skersmens keraminių, betoninių ar medinių vamzdžių. Lizdavietes geriausia daryti iš lentų. Tokie urvai daromi žmonių nelankomose pakrantėse, salose.

Kūltupiui kasami Г formos urveliai. Tokie urveliai turi užlinkusią į šoną lizdavietę, kuri tiesiai per urvelį nesimato ir suteikia mažam paukščiui saugumą.

Lizdavietės vandens paukščiams

Dirbtinių lizdaviečių darymas svarbus ir dėl to, kad daug dėčių žūva nuo plėšrūnų ar dėl kitų priežasčių. Daug vandens paukščių lizdų nukenčia nuo varninių paukščių, ypač tose vietose, kur dažnai lankosi žmonės. Normaliomis sąlygomis perintis paukštis niekada nepakyla tiesiai nuo lizdo - dažniausiai jis paeina į šalį, nuplaukia geroką atstumą ir tik tada kyla. Pavyzdžiui, varnos atidžiai stebi žmones, gyvulius ir įsidėmi vietas, iš kurių pakyla išgasdinti paukščiai.

Nemažai lizdų yra tiesiog nuplaunami vandens. Tai dažniausiai atsitinka prie hidroelektrinių. Vandens lygio svyravimai tokiose vietose gali siekti kelis metrus. Galimos ir kitos lizdų sunaikinimo priežastys - potvyniai. Dirbtiniai lizdai gali apsaugoti paukščius nuo panašių nelaimių ir padidinti tinkamų perėti vietų kiekį.

Upinės antys lizdus suka žolėtuose ar krūmais apaugusiuose krantuose prie vandens telkinių. Dirbtinių lizdų gamybai yra naudojamos įvairios medžiagos. Dažniausiai yra statomos palapinės, padarytos iš nendrių arba meldų stiebų. Iš šių medžiagų daromi ir tuneliai. Palapinės statomos vandens telkinio pakraštyje, vandens augalijoje. Pradžioje padaroma nedidelė krūvelė iš žolių ir joje įspaudžiama viršūnė - gaunasi duobutė, kuri taps lizdo pagrindu. Lizdas išklojamas šienu. Aplink jį statoma palapinė - kūgiu sustatomos nendrės, kurių viršūnės surišamos viela. Vienoje pusėje paliekamas plyšys, per kurį antys gali išplaukti iš lizdo. Jei tokia konstrukcija stovi vandenyje, į palapinę antys gali patekti ir nerdamos.

Tuneliams daryti reikia dviejų storesnių vielų, iš kurių daromos arkos. Stovinčių arkų aukštis 25-30 cm, atstumas tarp jų - 50-70 cm. Arkų galai smeigiami į žemę. Arkos uždengiamos nendrių kilimėliu (pluoštai nendrių perpinami virve arba viela). Išėjimai turi būti pridengti nesurištais nendrių galais, nendrių šluotelėmis.

Apsemtuose pakrančių augaluose galima padaryti lizdines teritorijas, kurios pasiteisina ten, kur vandens lygis yra nepastovus. Geriausia tokias konstrukcijas daryti žiemą. Tuomet, pramušus ledą, į dugną įkalami 4 kuolai taip, kad susidarytų stačiakampis - 40 cm pločio ir metro ilgio. Ant kuolų galų uždedamos ir prikalamos dvi metro ilgio lentelės, jungiančios viršūnes. Skersai šio rėmo prikalamos dar kelios lentelės, kurios taps būsimo lizdo rėmais. Ant gauto rėmo tiesiamas nendrių kilimėlis. Vidurinė kilimėlio dalis yra ant skersinių lystelių, o jo galai nusileidžia į vandenį laipteliais. Laiptelių šonus reikia pritvirtinti prie kuolų. Prie kuolų tvirtinamos arkos, kurių aukštis - 30 cm. Ant jų uždedamas kitas kilimėlis - stogas, kurio laisvi galai uždengia įėjimą ir laiptelius.

Ant kuolų ar plūdraus plausto galima pastatyti dėžutę, kurios pagrindas yra 40x40 cm, o aukštis - 30 cm. Stogas daromas taip, kad bent 10 cm jo uždengtų įėjimą. Panašią dėžutę galima padaryti su įėjimu iš po vandens. Palapines iš nendrių galima pakeisti palapinėmis iš lentų, kurios daromos iš dviejų suremtų sienų, panašiai kaip šlaitinis stogas. Tokios konstrukcijos ilgis yra apie 70 cm, vienos sienos plotis - 35 cm.

Šiose palapinėse peri didžioji, smailiauodegė antis, kryklės ir kitos upinės antys. Kai lizdas yra saugiai paslėptas, antys išperi daugiau palikuonių.

Žąsims daromos dirbtinės salelės. Jos supilamos iš akmenų, 30-40 cm storio nupjautų nendrių ryšulių ir įrengiamos tankioje augalijoje, pavyzdžiui, nendryne. Prie tokių krūvų padaromi "keliai" nendrėse - iki metro pločio. Atstumas tarp greta esančių krūvų - ne mažiau pusės metro. Aplink tokias krūvas reiktų įrengti apie 30-50 cm zonas, išvalant ar išpjaunant nendres. Tokios salelės įrengiamos 3-5 m nuo nendryno krašto. Krūvos turi būti nuožulnios, apie 1,5 m skersmens ir 50-70 cm aukščio.

Panašias krūvas lizdams renkasi ir gulbės nebylės.

Dėl žmogaus veiklos mažėja vietų, tinkamų perėti prie vandens gyvenančioms paukščių rūšims. Smėlėtos ežerų pakrantės užteršiamos ir apauga augalais, dalis smėlėtų pakrančių dingsta po vandeniu. Tokiose vietose mėgsta perėti kirai, žuvėdros, jūršarkės. Kai kuriose panašiose vietose atsiradusios gyvulių girdyklos irgi atbaido paukščius.

Šiems paukščiams perėti yra daromos plaukiojančios salelės. Juodajai žuvėdrai įrengiamos salelės, padarytos iš lentų, plastikinių vamzdžių ar kitų neskęstančių medžiagų. Tokio plausto matmenys gali būti nuo 0,5x0,5 m iki 1,5x3 m. Šie plaustai tvirtinami virve, kurios galai yra nuleisti į dugną parišus sunkų svorį. Virvės galai, einantys per plaustą, turi sudaryti buką kampą. Virvė turi laisvai judėti, t.y. prie plausto ne rišama, o perveriama per kilpas. Tokia konstrukcija leidžia plaustui plaukioti tam tikrose ribose, bet kintant vandens lygiui jis nenugrimzta. Plaustai turėtų būti ramiose įlankose, netoli nuo kranto ežeruose, ramios tėkmės upėse, o virvė orientuota vyraujančio vėjo kryptimi. Ant tokio plausto pagrindo uždedamas nendrių kilimėlis ir užberiama vandens augalų likučių. Tyrimų duomenys rodo, kad tokiuose plaustuose, įrengtuose kintančio vandens lygio telkiniuose, išperima daugiau palikuonių nei natūraliose perėjimo vietose.

Upinei žuvėdrai įrengiami didesni plaustai - 4-5x6 m. Ant platformos užpilama smėlio ir žvyro. Plausto šonuose padaroma kelių centimetrų aukščio vielinė tvorelė, kuri saugo žuvėdrų jauniklius nuo kritimo į vandenį. Šiuose ar mažesniuse plaustuose gali perėti ir antys, kirai, laukiai.

Tokios salelės jau ilgą laiką daromos kai kuriose Europos valstybėse, kuriose žuvėdros tampa vis retesniu paukščiu.

Belgų ornitologai daro plaustus ausuotiesiems kragams. Jie iš storo putplasčio išpjauna 60 cm skersmens šešiakampius. Šešiakampio šonuose pritvirtinamos plonos lentutės, kurios sudaro neaukštą kraštelį. Trijuose tokio plausto kraštuose tvirtinami troseliai, prie kurių kabinami inkarai ar svoriai. Svarbu parinkti tokį troselių ilgį, kad vandeniui patvinus, plaustas nenuskęstų. Tokie plaustai slepiami nendrynuose ežeruose, tvenkiniuose.

Galima padaryti mažus plaustus ir iš lentų. Sukalamos kelios 15-20 cm apie metro ilgio lentos. Platforma uždengiama pernykštėmis žolėmis, ajerais. Tokiuose plaustuose gali perėti laukiai.

Žuvėdrų kolonijoms didelę žalą gali padaryti varnos, sidabriniai kirai. Vokietijoje buvo išbandytas toks būdas. Mažųjų žuvėdrų lizdų apsaugai nuo didžiųjų kirų, virš žuvėdrų lizdų ant keturių metalinių strypelių 9 cm aukštyje virš žemės ištiesdavo 40x40 cm dydžio vielinį tinklelį, kurio akučių dydis - 15-20 mm. Tinklelis turi būti tvirtas, kad galėtų išlaikyti kiro svorį. Žuvėdros greitai apsipranta su naujovėmis ir po kelių minučių grįžta į lizdą.

Daug ančių, kirų, gulbių lizdų nuskandina kylantis vanduo. Europos šalyse užliejamose vietose esantys lizdai sutvirtinami arba pakeliami taip, kad jų neužlietų kylantis vanduo. Būta pavyzdžių, kai gulbės lizdas su kiaušiniais buvo perkeltas į gretimą aukštesnę vietą dalimis per 20-45 minutes.

Lizdavietės vandeniniams strazdams

Šie paukščiai būna prie greitos tėkmės upelių. Vandeniniai strazdai ieško maisto po vandeniu. Paukštelis gerai plaukia, gali netgi lakstyti dugnu, turi skambų balsą. Vandeninio strazdo lizdas yra rutulio formos, su landa šone. Šie lizdai sukami prie vandens, tarp akmenų.

Vandeniniam strazdui daromi dirbtiniai lizdai, panašūs į pilkosios musinukės - pusiau atviro tipo. Jo matmenys: 20-25 cm ilgio, 18-20 cm pločio ir 16-18 cm pločio. Priekinė sienelė - 4-6 cm, ji prikalama prie ilgosios puses.

Tokie inkilai kabinami po mažai žmonių lankomais tilteliais per sraunius upelius. Jie kabinami taip, kad būtų laisvas priskridimas ir kartu taip, kad jų per daug nesimatytų.

Panašiuose inkiluose galėtų perėti ir kalninė kielė.

Galima vandeniniam strazdui įrengti ir kitokią dirbtinio lizdo vietą. Po tilteliu ar lieptu virš vandens pritvirtinamos 3 ar 4 5-7 cm storio lazdos. Atstumas iki liepto 12-15 cm, atstumas tarp lazdų - 3-4 cm. Vietoje lazdų galima panaudoti paklotą, sudarytą iš 0,5-1 m ilgio šakų atraižų arba suskaldytų malkų. Toks patiesalas kabinamas per visą tiltelio ilgį iš vienos pusės, jį prikalant vertikaliomis lentelėmis arba stipriai pririšant viela.

Tokias lizdavietes būtina įrengti rudenį. Žiemą vandeniniai stradai gali surasti šias konstrukcijas, o pavasarį - įkurti lizdą. Inkilus galima statyti ir stačiuose šlaituose, gerai juos paslepiant.

Lizdavietės kregždėms ir čiurliams

Čiurlys. Šie puikūs skraiduoliai gamtoje dažniausiai suka lizdus ant uolų ir prie atodangų. Miestuose jie įsikuria daugiaaukščiuose pastatuose. Jiems daromi stačiakampiai inkilai (kaip ir varnėnams) su landa viršutiniame priekinės sienelės kampe. Tokie inkilai kabinami daugiaaukščių namų pastogėse.

Dažną džiugina kregždės, įsikūrusios namo pastogėje. Ne visur jos įsikuria, bet pritraukti jas nėra sunku. Joms daromos įvairios lentynėlės, kurios pakabinamos po stogu. Priklausomai nuo dydžio, jose gali įsikurti nuo vienos iki kelių kregždžių šeimų. Pavyzdžiui, langinė kregždė peri nedidelėmis kolonijomis. Tokios lentynos ilgis gali būti įvairus, o plotis dažniausiai būna 15-20 cm. Šios lentynos kabinamos 10-20 cm nuo stogo.

Langinėms kregždėms galima padaryti pusiau atviras lentynėles. Jos daromos su apatine, galine ir viršutine sienelėmis bei pertvaromis. Lentynėlę galima prailginti ir padaryti papildomas pertvaras. Vidinė ertmė iki pertvaros yra 15 cm, aukštis - 13 cm.

Pats paprasčiausias būdas pagelbėti kregždėms pritvirtinti lizdą - į sieną įkalti du storus vinis. Atstumas tarp jų turi būti 6-8 cm, jie turi būti išlindę iš sienos 8 cm. Toks sprendimas tinka tose vietose, kur kregždėms netrūksta statybinių medžiagų - vandens, molio.

Daugelis skundžiasi, kad kregždės labai teršia sienas. To galima išvengti, po kregždžių lizdais pritaisius storo kartono, faneros gabalą, platesnę lentutę.

Urvinių kregždžių lizdavietes papildomai apsaugoti galima apsodinant skardžio viršų erškėtrožių ar kitų spygliuotų krūmų gyvatvorėmis, skardžio apačią iki urvelių palyginant ir darant ją vertikalesne. Galima joms įrengti dirbtinius skardžius, į juos įmontuojant ir medinius urvelius.

Inkilas
Lizdavietės langinėms kregždėms.

Kaip pagelbėti jaunikliams, jei nukrenta lizdas? Jei jaunikliai jau vyresni nei 16 parų, galima juos surinkti į batų dėžę ir pakabinti ją toje pačioje vietoje, kur buvo lizdas. Jaunesnius kregždžiukus reiktų perkelti po 1-2 į gretimus lizdus. Galima ant lentelės prilipinti molinę 5 cm aukščio pusapvalę sienelę ir pritvirtinti ją prie sienos. Tėvai suras tokiame būste esančius jauniklius ir pabaigs statyti savo lizdą.

Miestuose kregždėms sunku rasti statybinių medžiagų, todėl gegužę-birželį joms galima padaryti dirbtines balas su moliu, plunksnomis. Lovius su šiomis medžiagomis gailma palikti ant namo stogo.

Inkilas
Dirbtiniai lizdai šelmeninėms kregždėms.
Inkilas
Dirbtiniai lizdai langinėms kregždėms.

Suomijoje kregždėms pastogėse tvirtinami moliniai puodai - atvira puse prie sienos, dugne padaroma landa.

Dar vienas dirbtinio lizdo kregždėms pavyzdys: 10x10 cm mediniai kvadratai sutvirtinami stačiu kampu. Į lentutes kalami vinys, kurie tarsi apibėga būsimo lizdo formą. Vinys turi kyšoti apie 2-3 cm. Iš cemento ir pjuvenų masės (medinėje formoje) daromi kregždžių lizdai. Dar šlapias cementas užmaunamas ant vinukų. Tam, kad masė nesusiplotų ir nepriliptų prie medžio, į vidų įkišamas šlapias popierius. Sienelės storis turėtų būti apie 1 cm. Kai cementas išdžiūna, medinė forma ir popierius nuimami - lizdavietė padaryta.

Kai kuriose Šveicarijos gyvenvietėse panašių lizdaviečių iškėlimas paskatino per dešimtmetį kregždžių skaičių padidinti dešimteriopai.

Kartais atsitinka, kad pavasarį, atšalus orams, kregždės sušąla. Tokias nejudrias kregždes žmonės randa ant žemės. Kregždės atnešamos į patalpą ir, kai atgyja, pamaitinamos. Kregždės maitinamos sūrio, liesos mėsos gabaliukais (apie 3 mm). Prieš maitinant, mėsą reiktų sušlapinti vandeniu. Paukščiai maitinami kas pusvalandį, mediniu pagaliuku pasmeigiant maistą.

Italų mokslininkai, bandę nustatyti, dėl ko šalyje mažėja šių paukščių, rado, jų manymu, dvi priežastis. Viena yra ta, kad pramonėje naudojama labai daug cheminių preparatų, insekticidų. Paukščiai žūva, prilesę užknuodytų vabzdžių. Kita - langinės kregždės įpratusios savo lizdus lipinti prie tam tikrų pastatų. Šiuolaikiniai pastatai statomi naudojant tokias medžiagas ir architektūrinius sprendimus, kad kregždės neranda patogių vietų savo lizdams įrengti.